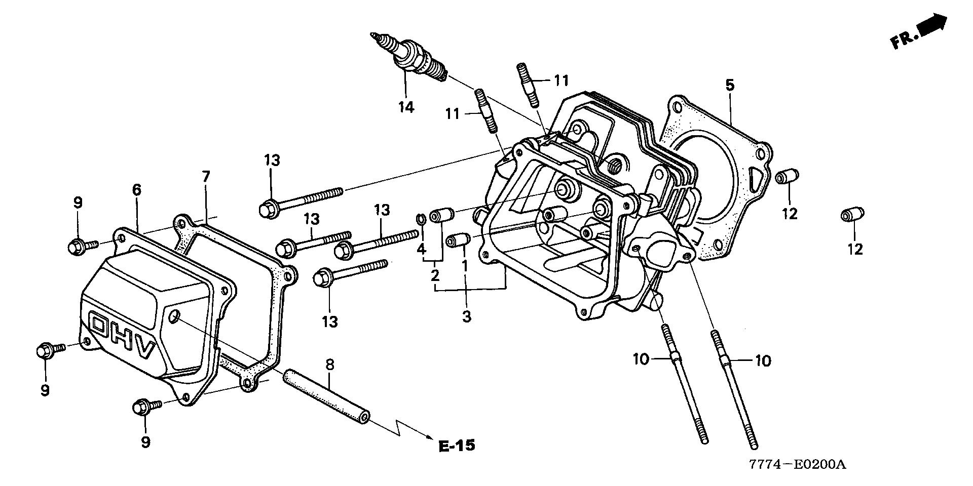
Description GASKET, CYLINDER HEAD (NIPPON LEAKLESS)
Serial Range 1000001 - 9999999
Qty
Price $25.52
Ref No 6
Part Number 12310-ZE1-020
Description COVER, HEAD
Serial Range 1000001 - 9999999
Qty
Price $19.46
Ref No 7
Part Number 12391-ZE1-000
Description GASKET, HEAD COVER
Serial Range 1000001 - 9999999
Ref No 8
Part Number 15721-ZH8-000
Description TUBE, BREATHER
Serial Range 1000001 - 9999999
Qty
Price $4.70
Ref No 9
Part Number 90013-883-000
Description BOLT, FLANGE (6X12) (CT200)
Serial Range 1000001 - 9999999
Ref No 10
Part Number 90043-ZE1-020
Description BOLT, STUD (6X112)
Serial Range 1000001 - 9999999
Qty
Price $6.58
Ref No 11
Part Number 90047-ZE1-000
Description BOLT, STUD (8X32)
Serial Range 1000001 - 9999999
Qty
Price $4.46
Ref No 12
Part Number 94301-10160
Description PIN, DOWEL (10X16)
Serial Range 1000001 - 9999999
Qty
Price $3.10
Ref No 13
Part Number 95723-08060-00
Description BOLT, FLANGE (8X60)
Serial Range 1000001 - 9999999
Qty
Price $2.34
Ref No 14
Part Number 98079-55846
Description SPARK PLUG (BPR5ES) (NGK)
Serial Range 1000001 - 9999999
Qty
Price $2.98
Ref No 14
Part Number 98079-55855
Description SPARK PLUG (W16EPR-U) (DENSO)
Serial Range 1000001 - 9999999
Qty
Price $2.98
Ref No 14
Part Number 98079-56841
Description SPARK PLUG (BP6ES) (NGK)
Serial Range 1000001 - 9999999
Qty
Price $3.62
Ref No 14
Part Number 98079-56854
Description SPARK PLUG (W20EP-U) (DENSO)
Serial Range 1000001 - 9999999
Item added to your cart
California Prop 65 Information
Internal Combustion Engine Products:
WARNING:
This product can expose you to chemicals including soots, tars, and mineral oils, which are known to the State of California to cause cancer,
and carbon monoxide, which is known to the State of California to cause birth defects or other reproductive harm. For more information go to
www.P65Warnings.ca.gov.
Miimo Robotic Mower
WARNING:
This product can expose you to chemicals including lead and lead compounds, which are known to the State of California to cause cancer and birth defects or other reproductive harm.
For more information go to
www.P65Warnings.ca.gov.