Snow Blowers HSS HSS1332 HSS1332A AT/A SAFA-2000001-9999999 CONTROL - Aurora Rents

Ref No
Part Number
Description
Serial Range
Qty
Price

Ref No
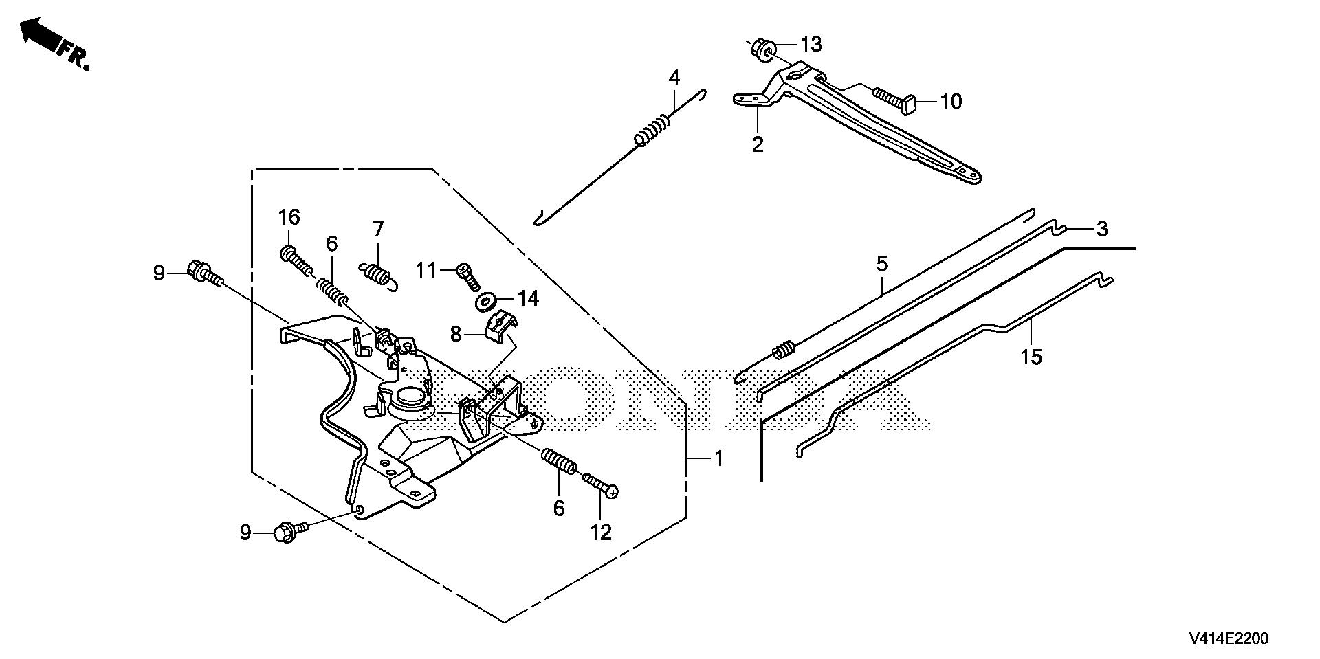
1
Part Number
16500-Z1C-H41
Description
CONTROL ASSY.
Serial Range
1000001 - 9999999
Qty
Price
$32.16

Ref No
2
Part Number
16551-ZE3-000
Description
ARM, GOVERNOR
Serial Range
1000001 - 9999999
Qty
Price
$17.56

Ref No
3
Part Number
16555-ZE3-000
Description
ROD, GOVERNOR
Serial Range
1000001 - 9999999
Qty
Price
$5.14

Ref No
4
Part Number
16561-ZE3-000
Description
SPRING, GOVERNOR (L=137.5MM)
Serial Range
1000001 - 9999999
Qty
Price
$5.62

Ref No
5
Part Number
16562-ZE3-000
Description
SPRING, THROTTLE RETURN
Serial Range
1000001 - 9999999
Qty
Price
$4.86

Ref No
6
Part Number
16584-883-300
Description
SPRING, CONTROL ADJUSTING
Serial Range
1000001 - 9999999
Qty
Price
$4.86

Ref No
7
Part Number
16593-ZG1-700
Description
SPRING, CONTROL LEVER RETURN
Serial Range
1000001 - 9999999
Qty
Price
$2.92

Ref No
8
Part Number
16617-ZE3-J10
Description
HOLDER, CABLE
Serial Range
1000001 - 9999999
Qty
Price
$4.86

Ref No
9
Part Number
90013-883-000
Description
BOLT, FLANGE (6X12) (CT200)
Serial Range
1000001 - 9999999

Ref No
10
Part Number
90015-Z5T-000
Description
BOLT, GOVERNOR ARM
Serial Range
1000001 - 9999999
Qty
Price
$0.56

Ref No
11
Part Number
92301-05022-0A
Description
BOLT, RECESSED (5X22)
Serial Range
1000001 - 9999999
Qty
Price
$0.82

Ref No
12
Part Number
93500-05032-0A
Description
SCREW, PAN (5X32)
Serial Range
1000001 - 9999999
Qty
Price
$1.34

Ref No
12
Part Number
93500-05032-0A
Description
SCREW, PAN (5X32)
Serial Range
1000001 - 9999999
Qty
Price
$1.34

Ref No
13
Part Number
94050-06000
Description
NUT, FLANGE (6MM)
Serial Range
1000001 - 9999999
Qty
Price
$0.82

Ref No
14
Part Number
94103-05000
Description
WASHER, PLAIN (5MM)
Serial Range
1000001 - 9999999
Qty
Price
$0.76

Ref No
16
Part Number
93500-05032-0A
Description
SCREW, PAN (5X32)
Serial Range
1000001 - 9999999
Qty
Price
$1.34

Ref No
16
Part Number
93500-05032-0A
Description
SCREW, PAN (5X32)
Serial Range
1000001 - 9999999
Qty
Price
$1.34