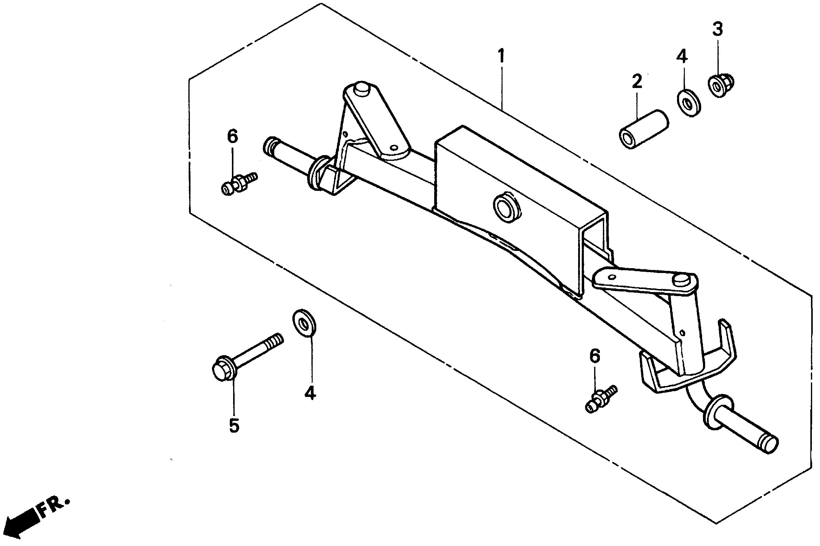
Lawn Tractor H H2113 H2113 HDA MZBF-6200001-9999999 FRONT AXLE - Aurora Rents

Ref No
Part Number
Description
Serial Range
Qty
Price

Ref No
1
Part Number
44100-771-000
Description
AXLE, FR.
Serial Range
1000001 - 9999999
Qty
Price
$667.96

Ref No
2
Part Number
44121-771-000
Description
COLLAR, FR. AXLE
Serial Range
1000001 - 9999999
Qty
Price
$8.38

Ref No
3
Part Number
90215-SB0-003
Description
NUT, SELF-LOCK (12MM) (CLINCH) (SATO RASHI)
Serial Range
1000001 - 9999999

Ref No
4
Part Number
90406-751-700
Description
WASHER, SPECIAL (12MM)
Serial Range
1000001 - 9999999
Qty
Price
$7.68

Ref No
5
Part Number
95801-12085-08
Description
BOLT, FLANGE (12X85)
Serial Range
1000001 - 9999999
Qty
Price
$4.20

Ref No
6
Part Number
96201-10000
Description
NIPPLE, GREASE (A.T6) (M6X1.0)
Serial Range
1000001 - 9999999
Qty
Price
$3.08