Description COIL ASSY., IGNITION (PHELON) (USE FOR F/W OF PHELON)
Serial Range 1000001 - 3092797
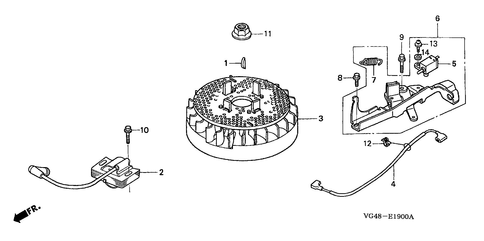
Ref No 2
Part Number 30500-Z8B-901
Description COIL ASSY., IGNITION (PHELON)
Serial Range 1000001 - 3092797
Ref No 2
Part Number 30500-Z8B-903
Description COIL ASSY., IGNITION (PHELON)
Serial Range 1000001 - 3092797
Ref No 2
Part Number 30500-ZL8-004
Description COIL ASSY., IGNITION (USE FOR F/W OF TEC) (TEC)
Serial Range 3092798 - 9999999
Ref No 2
Part Number 30500-ZL8-014
Description COIL ASSY., IGNITION (USE FOR F/W OF TEC) (TEC)
Serial Range 3092798 - 9999999
Qty
Price $46.88
Ref No 3
Part Number 31105-Z0L-010
Description FLYWHEEL ASSY. (PHELON) (USE FOR IGN. COIL OF PHELON) (NA USE ALT:06311-Z0L
Serial Range 1000001 - 3092797
Ref No 3
Part Number 31105-ZM0-000
Description FLYWHEEL ASSY. (TEC) (USE FOR IGN. COIL OF TEC)
Serial Range 3092798 - 9999999
Qty
Price $52.04
Ref No 4
Part Number 32195-Z0L-000
Description WIRE, STOP SWITCH
Serial Range 1000001 - 9999999
Qty
Price $6.12
Ref No 5
Part Number 35120-ZM0-003
Description SWITCH ASSY., ENGINE STOP (N.C)
Serial Range 1000001 - 9999999
Qty
Price $12.34
Ref No 6
Part Number 75100-Z0L-901
Description BRAKE ASSY.
Serial Range 1000001 - 9999999
Qty
Price $61.42
Ref No 7
Part Number 75113-ZM0-000
Description SPRING, BRAKE LEVER
Serial Range 1000001 - 9999999
Qty
Price $2.92
Ref No 8
Part Number 90014-952-000
Description BOLT, FLANGE (6X14) (CT200)
Serial Range 1000001 - 9999999
Qty
Price $2.86
Ref No 9
Part Number 90018-ZE1-000
Description BOLT, FLANGE (6X23) (CT200)
Serial Range 1000001 - 9999999
Qty
Price $2.14
Ref No 10
Part Number 90022-888-010
Description BOLT, FLANGE (6X20) (CT200)
Serial Range 1000001 - 9999999
Qty
Price $2.94
Ref No 11
Part Number 90201-878-003
Description NUT, SPECIAL (14MM)
Serial Range 1000001 - 9999999
Qty
Price $7.36
Ref No 12
Part Number 90681-959-003
Description CLIP A, CABLE (3.8MM BLACK) (NIFCO)
Serial Range 1000001 - 9999999
Qty
Price $3.82
Ref No 13
Part Number 93892-04012-00
Description SCREW-WASHER (4X12)
Serial Range 1000001 - 9999999
Qty
Price $0.82
Ref No 14
Part Number 94103-04000
Description WASHER, PLAIN (4MM)
Serial Range 1000001 - 9999999
Qty
Price $0.88
Item added to your cart
California Prop 65 Information
Internal Combustion Engine Products:
WARNING:
This product can expose you to chemicals including soots, tars, and mineral oils, which are known to the State of California to cause cancer,
and carbon monoxide, which is known to the State of California to cause birth defects or other reproductive harm. For more information go to
www.P65Warnings.ca.gov.
Miimo Robotic Mower
WARNING:
This product can expose you to chemicals including lead and lead compounds, which are known to the State of California to cause cancer and birth defects or other reproductive harm.
For more information go to
www.P65Warnings.ca.gov.