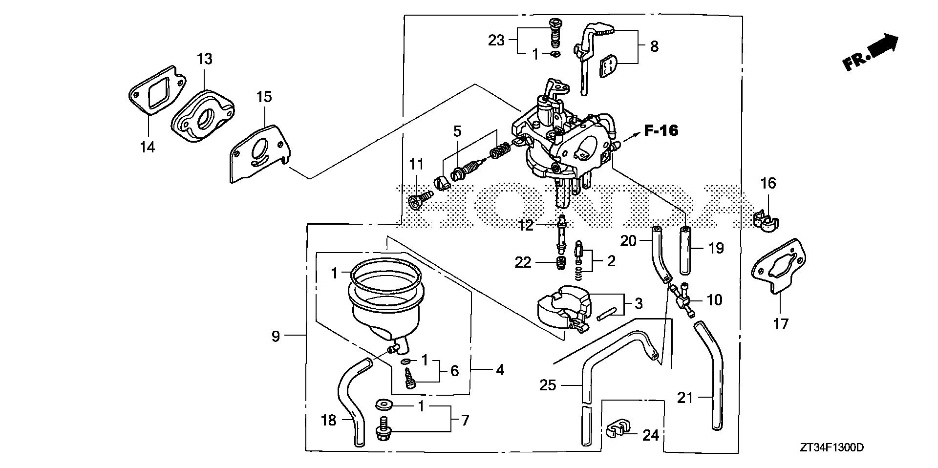
Ref No
Part Number
Description
Serial Range
Qty
Price
Ref No 1
Part Number 16010-ZM7-D01
Description GASKET SET
Serial Range 1000001 - 9999999
Ref No 2
Part Number 16011-ZE0-005
Description VALVE SET, FLOAT (SEAT NOT INCLUDED)
Serial Range 1000001 - 9999999
Qty
Price $28.48
Add To Cart
Ref No 3
Part Number 16013-ZG0-811
Description FLOAT SET
Serial Range 1000001 - 9999999
Ref No 4
Part Number 16015-ZM7-003
Description CHAMBER SET, FLOAT
Serial Range 1000001 - 9999999
Qty
Price $60.12
Add To Cart
Ref No 5
Part Number 16016-ZH7-W01
Description SCREW SET, PILOT
Serial Range 1000001 - 9999999
Qty
Price $20.40
Add To Cart
Ref No 6
Part Number 16024-ZB9-005
Description SCREW SET, DRAIN
Serial Range 1000001 - 9999999
Qty
Price $9.66
Add To Cart
Ref No 7
Part Number 16028-ZW6-611
Description SCREW SET
Serial Range 1000001 - 9999999
Qty
Price $14.44
Add To Cart
Ref No 8
Part Number 16044-ZM7-D01
Description CHOKE SET
Serial Range 1000001 - 9999999
Qty
Price $37.70
Add To Cart
Ref No 9
Part Number 16100-ZM7-D33
Description CARBURETOR ASSY. (BF30D C)
Serial Range 1000001 - 9999999
Ref No 10
Part Number 16112-ZM7-D01
Description JOINT, AIR VENT TUBE
Serial Range 1039757 - 9999999
Qty
Price $10.98
Add To Cart
Ref No 11
Part Number 16124-ZE0-005
Description SCREW, THROTTLE STOP
Serial Range 1000001 - 9999999
Qty
Price $17.88
Add To Cart
Ref No 12
Part Number 16166-ZM7-D11
Description NOZZLE, MAIN
Serial Range 1000001 - 9999999
Qty
Price $22.86
Add To Cart
Ref No 13
Part Number 16211-ZM7-D10
Description INSULATOR, CARBURETOR
Serial Range 1000001 - 9999999
Qty
Price $9.74
Add To Cart
Ref No 14
Part Number 16212-ZM7-000
Description GASKET, INSULATOR (ENGINE NO.)
Serial Range 1000001 - 1014300
Qty
Price $2.22
Add To Cart
Ref No 14
Part Number 16212-ZM7-D00
Description GASKET, INSULATOR (ENGINE NO.)
Serial Range 1014301 - 9999999
Qty
Price $2.30
Add To Cart
Ref No 15
Part Number 16221-ZG0-801
Description GASKET, CARBURETOR
Serial Range 1014301 - 9999999
Ref No 16
Part Number 17205-PC6-000
Description CLAMP, TUBE (7.5X2)
Serial Range 1000001 - 9999999
Qty
Price $11.06
Add To Cart
Ref No 17
Part Number 17274-ZT3-000
Description GASKET, AIR IN. JOINT
Serial Range 1039757 - 9999999
Qty
Price $2.86
Add To Cart
Ref No 18
Part Number 95003-05008-60M
Description BULK HOSE, VINYL (3.5X6.5X8000) (3.5X6.5X190)
Serial Range 1039757 - 9999999
Qty
Price $27.30
Add To Cart
Ref No 19
Part Number 95003-07008-60M
Description BULK HOSE, VINYL (4X7X8000) (4X7X50)
Serial Range 1000001 - 9999999
Qty
Price $34.56
Add To Cart
Ref No 19
Part Number 95003-07008-60M
Description BULK HOSE, VINYL (4X7X8000) (4X7X70) (FRAME NO.)
Serial Range 1000001 - 9999999
Qty
Price $34.56
Add To Cart
Ref No 19
Part Number 95003-07008-60M
Description BULK HOSE, VINYL (4X7X8000) (4X7X160)
Serial Range 1039757 - 9999999
Qty
Price $34.56
Add To Cart
Ref No 19
Part Number 95003-07008-60M
Description BULK HOSE, VINYL (4X7X8000) (4X7X350) (FRAME NO.)
Serial Range 1039757 - 9999999
Qty
Price $34.56
Add To Cart
Ref No 20
Part Number 95003-07008-60M
Description BULK HOSE, VINYL (4X7X8000) (4X7X50)
Serial Range 1000001 - 9999999
Qty
Price $34.56
Add To Cart
Ref No 20
Part Number 95003-07008-60M
Description BULK HOSE, VINYL (4X7X8000) (4X7X70) (FRAME NO.)
Serial Range 1000001 - 9999999
Qty
Price $34.56
Add To Cart
Ref No 20
Part Number 95003-07008-60M
Description BULK HOSE, VINYL (4X7X8000) (4X7X160)
Serial Range 1039757 - 9999999
Qty
Price $34.56
Add To Cart
Ref No 20
Part Number 95003-07008-60M
Description BULK HOSE, VINYL (4X7X8000) (4X7X350) (FRAME NO.)
Serial Range 1039757 - 9999999
Qty
Price $34.56
Add To Cart
Ref No 21
Part Number 95003-07008-60M
Description BULK HOSE, VINYL (4X7X8000) (4X7X50)
Serial Range 1000001 - 9999999
Qty
Price $34.56
Add To Cart
Ref No 21
Part Number 95003-07008-60M
Description BULK HOSE, VINYL (4X7X8000) (4X7X70) (FRAME NO.)
Serial Range 1000001 - 9999999
Qty
Price $34.56
Add To Cart
Ref No 21
Part Number 95003-07008-60M
Description BULK HOSE, VINYL (4X7X8000) (4X7X160)
Serial Range 1039757 - 9999999
Qty
Price $34.56
Add To Cart
Ref No 21
Part Number 95003-07008-60M
Description BULK HOSE, VINYL (4X7X8000) (4X7X350) (FRAME NO.)
Serial Range 1039757 - 9999999
Qty
Price $34.56
Add To Cart
Ref No 22
Part Number 99101-ZG0-0520
Description JET, MAIN (#52)
Serial Range 1000001 - 9999999
Qty
Price $10.34
Add To Cart
Ref No 22
Part Number 99101-ZG0-0550
Description JET, MAIN (#55)
Serial Range 1000001 - 9999999
Qty
Price $10.34
Add To Cart
Ref No 22
Part Number 99101-ZG0-0580
Description JET, MAIN (#58)
Serial Range 1000001 - 9999999
Qty
Price $8.48
Add To Cart
Ref No 23
Part Number 99204-ZE0-0350
Description JET SET, PILOT (#35)
Serial Range 1000001 - 9999999
Qty
Price $22.50
Add To Cart