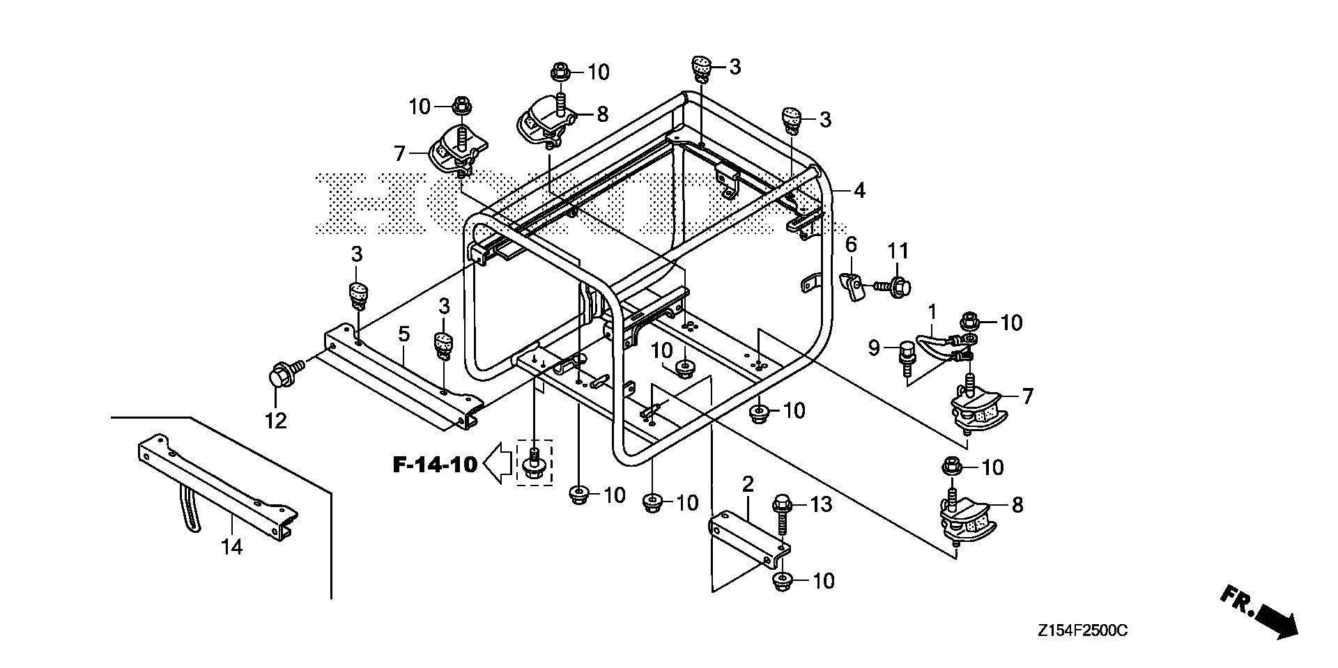
Generators EP EP2500 EP2500CX1 AH EAHC-1000001-9999999 FRAME - Aurora Rents

Ref No
Part Number
Description
Serial Range
Qty
Price

Ref No
1
Part Number
32610-Z15-A80
Description
CABLE, SUB-GROUND
Serial Range
1000001 - 9999999
Qty
Price
$5.54

Ref No
2
Part Number
50138-Z15-000
Description
BRACKET, STOPPER
Serial Range
1000001 - 9999999

Ref No
3
Part Number
50153-ZR6-000
Description
RUBBER, FUEL TANK MOUNTING
Serial Range
1000001 - 9999999
Qty
Price
$5.96

Ref No
4
Part Number
50310-Z15-A30ZA
Description
FRAME *NH1* (CX) (BLACK)
Serial Range
1000001 - 9999999
Qty
Price
$363.76

Ref No
5
Part Number
50315-Z15-R60ZA
Description
FRAME, SIDE *NH1* (CX) (BLACK)
Serial Range
1000001 - 1181385

Ref No
6
Part Number
50339-ZR4-T60
Description
PLATE, GUARD
Serial Range
1181386 - 9999999
Qty
Price
$5.44

Ref No
7
Part Number
68326-Z15-B70
Description
RUBBER, FR. (LOWER)
Serial Range
1000001 - 9999999

Ref No
8
Part Number
68327-Z15-B70
Description
RUBBER, RR. (LOWER)
Serial Range
1127349 - 9999999
Qty
Price
$26.30

Ref No
9
Part Number
90148-SE0-003
Description
BOLT, GROUND (6X16) (WASHER 12.5MM) (ZN)
Serial Range
1127349 - 9999999
Qty
Price
$10.54

Ref No
10
Part Number
94050-08000
Description
NUT, FLANGE (8MM)
Serial Range
1000001 - 9999999

Ref No
11
Part Number
95701-06012-00
Description
BOLT, FLANGE (6X12)
Serial Range
1000001 - 9999999
Qty
Price
$1.98

Ref No
12
Part Number
95701-08016-07
Description
BOLT, FLANGE (8X16)
Serial Range
1000001 - 9999999
Qty
Price
$2.20

Ref No
13
Part Number
95701-08035-00
Description
BOLT, FLANGE (8X35)
Serial Range
1000001 - 9999999
Qty
Price
$2.80

Ref No
14
Part Number
50315-Z15-A30ZA
Description
FRAME, SIDE *NH1* (CX) (BLACK)
Serial Range
1181386 - 9999999
Qty
Price
$41.80